


GRS identification number: #1134735
Bureau Veritas classed until 2028
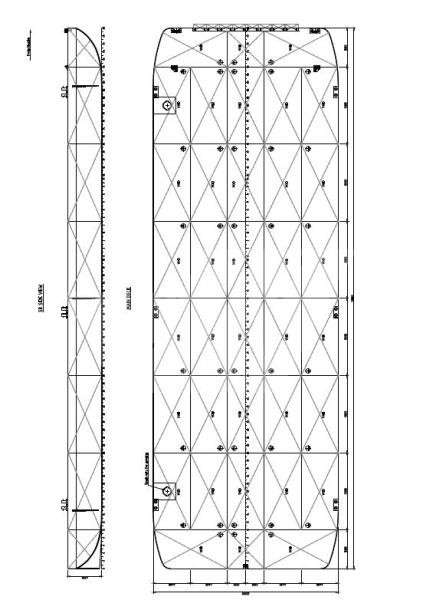
DECK PLATE THICKNESS: 15 mm
SHEERSTRAKE THICKNESS: 25 mm
NUMBER OF COMPARTMENTS: 36 void spaced
CARGO CAPACITY: 3754 ton approx.
DECK LOAD: 20 ton m2
STANDARD OUTFITTING
BOLLARDS
6 x double bollards (12 tons SWL)
1 x single bollard
SPUD HOLES: 2 x at PS side
MANHOLES: Flush type manholes
TOWING BRACKETS: 3 x SMIT brackets at the bow
RAMP: Ramp recess at the bow
OPTIONS
TOWING ARRANGEMENT: Towing bridle with chains and emergency towing arrangement
SPUD POLES: Spuds with a diameter of 914mm
SPUD HANDLING EQUIPMENT: Hydraulic cylinders
DECK EQUIPMENT: Mooring winches and cranes
LOA 70 m
Beam 22 m
Draft 4 m
Built in year 2023
Class : Bureau Veritas
Gross Tonnage of 1.623 and Nett Tonnage of 486